ウシオ電機がCare222関連でまた新しい特許を取得しました。
一番の特色は「照射出力が変わる」という点です。
かなり具体的かつ詳しくシチュエーションや制御法が書かれている印象で、AMGの個人的妄想ではこれが次のユニット「U5」に使われるような気がしています。
【特許番号】特許第6973603号(P6973603)
【登録日】令和3年11月8日(2021.11.8)
【発行日】令和3年12月1日(2021.12.1)
【発明の名称】紫外線照射装置および紫外線照射方法
【特許権者】ウシオ電機株式会社

【課題】人体への悪影響が抑制された波長範囲の紫外線を用いた微生物および/またはウイルスの不活化を、効果的に、且つ、より適切に行うことができる紫外線照射装置および紫外線照射方法を提供する。
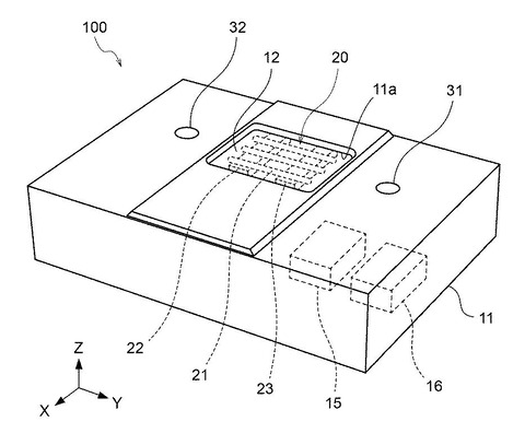
【解決手段】紫外線照射装置100は、波長帯域が190nm~235nmの紫外線を含む光を物体に対して放射する光放射面を有する光源部と、光源部の点灯を制御する制御部と、を備える。制御部は、光放射面から所定の離間距離以内の領域である検知範囲に存在する物体を検知する近接センサから、物体を検知していることを示す検知信号を受信し、検知信号を受信した場合、検知信号を受信する前と比較して光源部から放射される紫外線量を低減するように、光源部の点灯を制御する。

とても文書量の多い特許申請なので全ての説明は省きますが、要は「より安全で効果的な除菌照射をするために近接センサーや人感センサーを更に活用して出力も可変させる」って感じです。
ところがさらによくよく読むと「そのさらに先」を見越しているような感もあります。
ここからはAMGの私見や推測も合わせての説明となります。
例えば、、、、(以下薄青の部分は原文からの引用。)
> ACGIH(American Conference of Governmental Industrial Hygienists:米国産業衛生専門家会議)やJIS Z 8812(有害紫外放射の測定方法)によれば、人体への1日(8時間)あたりの紫外線照射量は、波長ごとに許容限界値(TLV:Threshold Limit Value)が定められており、許容限界値を超えない程度に所定時間当たりに照射される紫外線の照度と照射量を決定することが求められている。この許容限界値は、今後は改定されてゆく可能性もあるが、何かしら紫外線照射量の上限値を定めておくことは、より安全な運用を行う上で好ましい。
と、ACGIHのTLV緩和にさらっと触ながら、緩和されると共に上限値も変わる可能性があると示唆しているように感じます。
>光源からの離間距離が大きい場所において効果的な不活化を行うように紫外線照度が設定されている場合、光源からの離間距離が近い場所においては、比較的に短時間で照射量の許容限界値を超えてしまいやすく、また人に対して高いエネルギー量の光が長時間に亘って照射されやすい。
これは逆に言えば「遠い場所にはTLVを超える勢いで照射する」と言う意味にも取れます。
センサーが反応した場合は照射量を低減させる、照射を止める、照射間隔を開ける、等の「人に強い照射を当て続けない制御」が目的だとちゃんと書いてあるのですが、同時に無人時の照射量は大幅に引き上げる可能性を感じます。

>紫外線照射装置100自体や、紫外線照射装置100と通信可能なリモコン等に設けられた操作部をユーザが操作することで、所定の離間距離Dを変更可能にする。
なおセンサーの感知距離はある程度調整できるようですね。
> さらにまた、上記の紫外線照射装置において、前記制御部は、前記紫外線量を低減するように前記光源部の点灯を制御している間に、前記検知信号の受信が途絶えたとき、前記紫外線量を低減する制御を解除するようにしてもよい。 この場合、光放射面から所定の離間距離以内の領域から物体がいなくなった場合に、光源部から放射される紫外線量を増大し、通常点灯に戻すことができる。
これはつまり人が居ない時に照射してる「強照射」が「通常点灯」と読めます。
AMGとしては「本来の目的はこっち」かもと考えてしまいます。
全てがこのままではないかも知れませんが、これが次期U5ユニットになるのかな?と言う気がしています。
繰り返しますが文書量の多い特許ですので、より正確に特許の意図を把握したい方はじっくりと原文を読んで頂き、ご自身で判断して頂きますようお願いいたします。
ここに書いたものにはAMGの妄想が含まれています。
>近接センサ32により物体が検知されていない通常時に、光源部による紫外線照射を連続的に行う、いわゆる連続点灯を行う場合について、図4~図9を用いて説明する。
そしてついに無人時限定ではありますが「連続照射」も可能になるようです。
ちなみに応用範囲はとても広く設定されており、ほとんど全ての空間を対象としています。
「例えば~含む」と言う表現は例えに入っていない場所、例えば一般住居も可能性としては含み得るからです。
> 紫外線照射装置100は、人や動物が存在する空間内において紫外線照射を行い、当該空間や当該空間内の物体表面に存在する微生物やウイルスを不活化する装置である。
ここで、上記空間は、例えば、オフィス、商業施設、医療施設、駅施設、学校、役所、劇場、ホテル、飲食店等の施設内の空間や、自動車、電車、バス、タクシー、飛行機、船等の乗物内の空間を含む。なお、上記空間は、病室、会議室、トイレ、エレベータ内などの閉鎖された空間であってもよいし、閉鎖されていない空間であってもよい。
また光源は例によって波長さえ合っていれば種類は何でもアリです。
>なお、紫外線光源は、KrClエキシマランプに限定されるものではなく、190nm~235nmの波長範囲にある紫外線を放射する光源であればよい。
LEDでの222nm光源が開発されたらフィルターは不要と考える方がたまに居ます。
が、波長のピークの鋭さはエキシマランプの方が遥かに鋭いのが現状です。
実用的な222nmLEDはまだ開発されていませんが、例え完成しても有害波長をカットするフィルターは必要な気がします。
フィルターと組み合わせる特許はウシオが押さえたままなのでご安心を。

参考画像1 欧州某国がシミュレートした222nmLEDの予想スペクトル分布図

参考画像2 某大学が実験的に開発した遠紫外線LEDのスペクトル分布図
特許は研究や他社牽制のために請求されるものも有り、全てが製品化に至る訳ではありませんが、この特許には製品化の気配を感じます。
応用範囲が広く、TLV緩和に合わせて(人体への安全を確保した上で)照射量を強くしての運用もできますし、逆に現行のTLV内でも、より効果的に除菌をする制御をおこなう事も可能です。
製品化に期待しましょう!
より広い情報を知りたい方はcare222応援団の情報まとめサイトへ
一番の特色は「照射出力が変わる」という点です。
かなり具体的かつ詳しくシチュエーションや制御法が書かれている印象で、AMGの個人的妄想ではこれが次のユニット「U5」に使われるような気がしています。
【特許番号】特許第6973603号(P6973603)
【登録日】令和3年11月8日(2021.11.8)
【発行日】令和3年12月1日(2021.12.1)
【発明の名称】紫外線照射装置および紫外線照射方法
【特許権者】ウシオ電機株式会社

【課題】人体への悪影響が抑制された波長範囲の紫外線を用いた微生物および/またはウイルスの不活化を、効果的に、且つ、より適切に行うことができる紫外線照射装置および
【解決手段】紫外線照射装置100は、波長帯域が190nm~235nmの紫外線を含む光を物体に対して放射する光放射面を有する光源部と、光源部の点灯を制御する制御部と、を備える。制御部は、光放射面から所定の離間距離以内の領域である検知範囲に存在する物体を検知する近接センサから、物体を検知していることを示す検知信号を受信し、検知信号を受信した場合、検知信号を受信する前と比較して光源部から放射される紫外線量を低減するように、光源部の点灯を制御する。

とても文書量の多い特許申請なので全ての説明は省きますが、要は「より安全で効果的な除菌照射をするために近接センサーや人感センサーを更に活用して出力も可変させる」って感じです。
ところがさらによくよく読むと「そのさらに先」を見越しているような感もあります。
ここからはAMGの私見や推測も合わせての説明となります。
例えば、、、、(以下薄青の部分は原文からの引用。)
> ACGIH(American Conference of Governmental Industrial Hygienists:米国産業衛生専門家会議)やJIS Z 8812(有害紫外放射の測定方法)によれば、人体への1日(8時間)あたりの紫外線照射量は、波長ごとに許容限界値(TLV:Threshold Limit Value)が定められており、許容限界値を超えない程度に所定時間当たりに照射される紫外線の照度と照射量を決定することが求められている。この許容限界値は、今後は改定されてゆく可能性もあるが、何かしら紫外線照射量の上限値を定めておくことは、より安全な運用を行う上で好ましい。
と、ACGIHのTLV緩和にさらっと触ながら、緩和されると共に上限値も変わる可能性があると示唆しているように感じます。
>光源からの離間距離が大きい場所において効果的な不活化を行うように紫外線照度が設定されている場合、光源からの離間距離が近い場所においては、比較的に短時間で照射量の許容限界値を超えてしまいやすく、また人に対して高いエネルギー量の光が長時間に亘って照射されやすい。
これは逆に言えば「遠い場所にはTLVを超える勢いで照射する」と言う意味にも取れます。
センサーが反応した場合は照射量を低減させる、照射を止める、照射間隔を開ける、等の「人に強い照射を当て続けない制御」が目的だとちゃんと書いてあるのですが、同時に無人時の照射量は大幅に引き上げる可能性を感じます。

>紫外線照射装置100自体や、紫外線照射装置100と通信可能なリモコン等に設けられた操作部をユーザが操作することで、所定の離間距離Dを変更可能にする。
なおセンサーの感知距離はある程度調整できるようですね。
> さらにまた、上記の紫外線照射装置において、前記制御部は、前記紫外線量を低減するように前記光源部の点灯を制御している間に、前記検知信号の受信が途絶えたとき、前記紫外線量を低減する制御を解除するようにしてもよい。 この場合、光放射面から所定の離間距離以内の領域から物体がいなくなった場合に、光源部から放射される紫外線量を増大し、通常点灯に戻すことができる。
これはつまり人が居ない時に照射してる「強照射」が「通常点灯」と読めます。
AMGとしては「本来の目的はこっち」かもと考えてしまいます。
全てがこのままではないかも知れませんが、これが次期U5ユニットになるのかな?と言う気がしています。
繰り返しますが文書量の多い特許ですので、より正確に特許の意図を把握したい方はじっくりと原文を読んで頂き、ご自身で判断して頂きますようお願いいたします。
ここに書いたものにはAMGの妄想が含まれています。
>近接センサ32により物体が検知されていない通常時に、光源部による紫外線照射を連続的に行う、いわゆる連続点灯を行う場合について、図4~図9を用いて説明する。
そしてついに無人時限定ではありますが「連続照射」も可能になるようです。
ちなみに応用範囲はとても広く設定されており、ほとんど全ての空間を対象としています。
「例えば~含む」と言う表現は例えに入っていない場所、例えば一般住居も可能性としては含み得るからです。
> 紫外線照射装置100は、人や動物が存在する空間内において紫外線照射を行い、当該空間や当該空間内の物体表面に存在する微生物やウイルスを不活化する装置である。
ここで、上記空間は、例えば、オフィス、商業施設、医療施設、駅施設、学校、役所、劇場、ホテル、飲食店等の施設内の空間や、自動車、電車、バス、タクシー、飛行機、船等の乗物内の空間を含む。なお、上記空間は、病室、会議室、トイレ、エレベータ内などの閉鎖された空間であってもよいし、閉鎖されていない空間であってもよい。
また光源は例によって波長さえ合っていれば種類は何でもアリです。
>なお、紫外線光源は、KrClエキシマランプに限定されるものではなく、190nm~235nmの波長範囲にある紫外線を放射する光源であればよい。
LEDでの222nm光源が開発されたらフィルターは不要と考える方がたまに居ます。
が、波長のピークの鋭さはエキシマランプの方が遥かに鋭いのが現状です。
実用的な222nmLEDはまだ開発されていませんが、例え完成しても有害波長をカットするフィルターは必要な気がします。
フィルターと組み合わせる特許はウシオが押さえたままなのでご安心を。

参考画像1 欧州某国がシミュレートした222nmLEDの予想スペクトル分布図

参考画像2 某大学が実験的に開発した遠紫外線LEDのスペクトル分布図
特許は研究や他社牽制のために請求されるものも有り、全てが製品化に至る訳ではありませんが、この特許には製品化の気配を感じます。
応用範囲が広く、TLV緩和に合わせて(人体への安全を確保した上で)照射量を強くしての運用もできますし、逆に現行のTLV内でも、より効果的に除菌をする制御をおこなう事も可能です。
製品化に期待しましょう!
コメント